戴森要搞能爬楼梯的吸尘器,两项专利设计现已提交

新闻 2021-09-07 博雯
4336

网友:等着你做个戴森球出来了

博雯 发自 凹非寺

非常AI 报道 | 公众号 QbitAI

卖了二十多年吸尘器的戴森,现在也开始搞机器人了!

别误会,不是普普通通的扫地机器人,而是酱紫可以爬楼的——

戴森要搞能爬楼梯的吸尘器,两项专利设计现已提交

吸尘器

还有这种可以看上去可以举杯子或拉抽屉的机械臂:

戴森要搞能爬楼梯的吸尘器,两项专利设计现已提交

这就是戴森上周提交的专利文件中,透漏的两种机器人的设计细节。

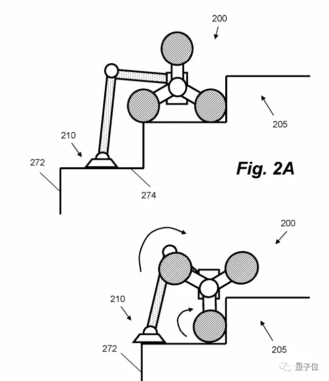
可爬楼梯的吸尘器

先来看看“会爬楼梯的吸尘器”,也就是戴森所提交的第一份专利文件中的信息:

戴森要搞能爬楼梯的吸尘器,两项专利设计现已提交

这份文件描述了一个包含三角轮(Tri-Star Wheels)和驱动臂的机器人装置。

戴森要搞能爬楼梯的吸尘器,两项专利设计现已提交

其中三角轮与驱动系统耦合,在执行任务期间至少有两个轮子与地面发生接触。

在面对不连续的地形和障碍时,三角轮会通过差速驱动方式(Differential Drive)方式来完成一些复杂的动作。

比如垂直于支撑表面的旋转。

戴森要搞能爬楼梯的吸尘器,两项专利设计现已提交

驱动臂则由一个末端效应器(End Effector)和多个动力关节组成。

在三角轮控制机器人前进时,驱动臂也能协助运动,在导航期间保持机器人的整体稳定。

戴森要搞能爬楼梯的吸尘器,两项专利设计现已提交

在实际应用中,机械臂末端常常需要与清洁系统连接。

当然,清洁系统里也少不了戴森招牌的真空技术。

通过机械臂末端效应器上的一个开孔,使得效应器一直保持在较低的压力下。

然后在机械臂末端安上一个吸尘头,就可以借助三角轮的攀登能力,一边爬楼梯一边真空吸尘。

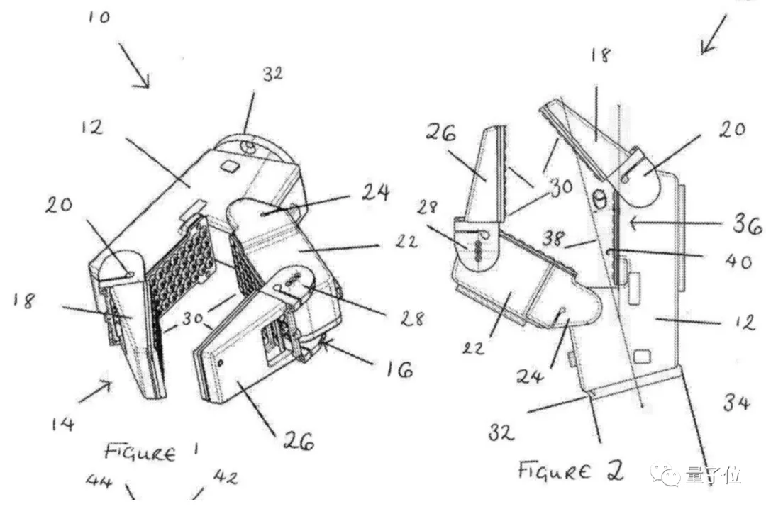
而另一份专利机器手 (Robot Hand),则专注于更精细的“抓取”动作和控制领域。

戴森要搞能爬楼梯的吸尘器,两项专利设计现已提交

比如抓住一个特定的杯子,或者推开一把椅子,拉直一块毛毯。

戴森要搞能爬楼梯的吸尘器,两项专利设计现已提交

建立在电机上的科技公司

这些设计是否针对即将推出的产品,戴森的发言人目前尚未作出回应,但吃瓜群众已经热议起来。

戴森要搞能爬楼梯的吸尘器,两项专利设计现已提交

而一些网友的第一反应是:

看上去他们的技术又进步了。

戴森要搞能爬楼梯的吸尘器,两项专利设计现已提交

没错,在很多用户心目中,戴森不仅是一个家电品牌,更是一家非常“极客”的科技公司

没有叶片的风扇、不用拖着电线走的吸尘器、不是细长风嘴的电吹风……

明明是日常电器,却充满了一种极客味儿的科技感。

这一切都来源于戴森的核心技术——马达

在这一领域上,戴森已经投入了超过3.5亿英镑,拥有超过1000份专利,共推出过11代数码马达。

而戴森迄今为止最小、最轻的V9马达,直径仅一枚硬币的大小,转速却能够达到每分钟11万转,是普通吸尘器转速的5倍

顶尖的马达技术(也可以叫电机技术)就是戴森进入机器人领域的底气。

毕竟,大多数的机器人都是受电机驱动的。

并非所有网友都买账

在“戴森”这一品牌的加成下,有不少人对那些尚存于图纸之上的机器人态度乐观:

只要这款机器人真的能清洁楼梯(很多级台阶的那种),我就愿意为此花钱。

戴森要搞能爬楼梯的吸尘器,两项专利设计现已提交

也有人玩梗:就等戴森公司开始设计戴森球了!

戴森要搞能爬楼梯的吸尘器,两项专利设计现已提交

不过也有一些网友借此抱怨戴森“不够持久”的老毛病:

能不能让现有的吸尘器先好好工作?说不定你那机器人十分钟之后就会和吸尘器一样没电了。

戴森要搞能爬楼梯的吸尘器,两项专利设计现已提交

当然,更多人的第一反应是先cue一下该领域的王者:

波士顿动力笑了:“等戴森做跑酷机器人时再叫我。”

戴森要搞能爬楼梯的吸尘器,两项专利设计现已提交

专利:
[1]https://www.ipo.gov.uk/p-ipsum/Case/ApplicationNumber/GB2002772.8
[2]https://www.ipo.gov.uk/p-ipsum/Case/ApplicationNumber/GB2002777.7

参考链接:
[1]https://www.theverge.com/2021/9/5/22658346/patent-dyson-robot-stairs-vacuum-hand
[2]https://gizmodo.com/yes-i-actually-do-want-a-creepy-dyson-robot-vacuum-tha-1847616552
[3]https://www.reddit.com/r/gadgets/comments/pihd5p/dyson_could_be_designing_a_robot_that_can_climb/

版权声明:博雯 发表于 2021-09-07。
转载请注明:戴森要搞能爬楼梯的吸尘器,两项专利设计现已提交 | 非常AI

相关文章